合泰单片机BS83B04C实现液位检测

Source

 

合泰单片机BS83B04C实现液位检测


※ 芯片概述

这款8位高性能Flash单片机集成了触控按键功能,无需外部元件,具备可多次编程的Flash存储器、RAM数据存储器和True EEPROM存储器,用于存储非易失性数据。它还配备了内部看门狗定时器、低电压复位、抗干扰和ESD保护功能,确保在恶劣环境下稳定运行。此外,单片机提供低速和高速振荡器选项,内建系统振荡器和I2C接口,支持动态模式切换以优化操作和降低功耗。其灵活的I/O使用、时基功能和定时器模块进一步增强了设备的功能性和灵活性。该单片机适用于电子测量仪器、家用电器和电子控制工具等多种现代触控产品。
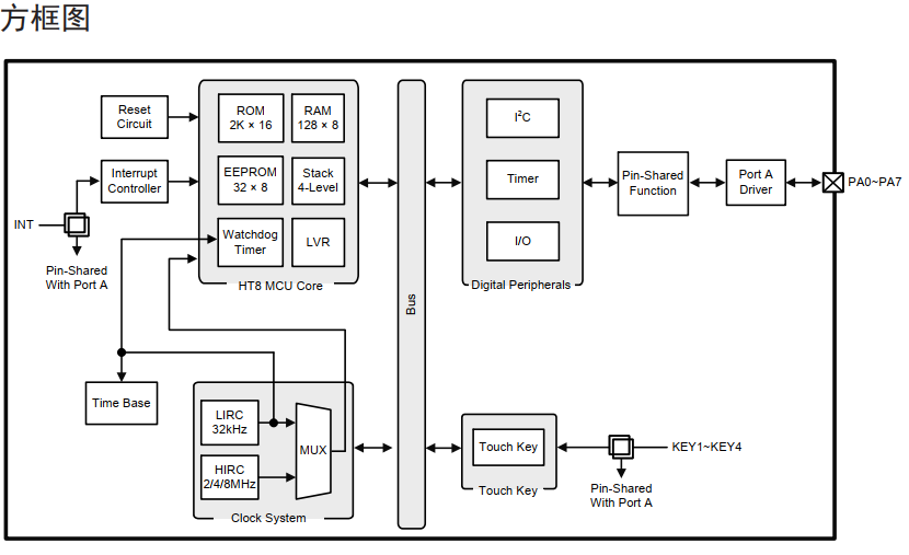
方框图

※ BS83B04C最小系统

最小系统

在本设计中,采用2.0mm间距的4P端子进行电缆焊接,其引脚定义如下:Pin4为5V输入,Pin3为GND,Pin2为输出,Pin1为校正信号。由于该应用中的输出并非用于驱动电磁阀等功率型负载,因此5V电源的电流只需不小于50mA,即可确保系统稳定运行。

Pin2的输出在当前设计中,检测到液位时输出3.3V高电平,未检测到液位时输出0V。然而,当Pin2连接到5V电平的单片机或光耦隔离电路时,其输出的3.3V高电平无法完全截止光耦内部LED,存在误触发的可能。为提升兼容性,应将其设计为集电极开路输出类型,具体可采用NPN型三极管构建OC门。
此外,在PA3的输出端添加一条包含R4和LED4的支路,用于调试时提供指示信号。在实际应用电路中,该支路无需焊接。
OC门

Pin1的校正信号采用低电平有效的方式。为了便于在电路板级别进行自动校正,我们在电路板上增设了SW2开关。通过SW2,可以验证单机版功能的正常性,同时该校正操作也受外部校正信号的控制。考虑到其他用户可能默认使用5V高电平,而在校正时切换为低电平,为了避免在外部校正信号为默认5V高电平时,同时按下SW2导致电源与地短路的问题,我们在Pin1后串联了一个1kΩ电阻。

经过实际测试,发现在校正控制信号中串联1kΩ电阻,并不会对校正功能产生任何影响,同时有效避免了电源与地短路的风险,从而优化了电路设计。
校正优化设计
结合上述Pin2的设计,将相同的设计应用于Pin1或许会更为理想,原因如下:
当Q1作为开关管使用时,若其基极(B)处于高电平状态,三极管便会导通,此时集电极(C)的电压将接近0V,BS83B04C随即启动校正功能。在这种情况下,无论SW2是否被按下,对电路均无任何影响。
反之,当基极(B)为低电平时,三极管截止,集电极(C)的电压将等于PA2内部的上拉电压。此时,无论SW2是否按下,均不会对Pin2产生任何影响。

※ BS83B04C最终设计

基于上述分析,现给出硬件2.0版本的设计方案。在该版本中,采用2.0mm间距的4P端子进行电缆焊接,其引脚定义如下:

• Pin4:5V输入
• Pin3:GND(地)
• Pin2:输出
• Pin1:输入校正信号

鉴于该应用场景中的输出并非用于驱动电磁阀等功率型负载,因此5V电源的电流只需不小于50mA,即可确保系统的稳定运行。

对于Pin2的液位检测输出:
• 当检测到液位时,输出低电平约0V;
• 未检测到液位时,由用户自行定义5V或其他电平作为高电平。

对于Pin1的校正信号:
• 触发电平由用户自行定义,高电平不低于1V;
• 低电平不高于1V。
最终设计
在这里插入图片描述